一、產品簡介
JD-QC4小型自動氣象站是通過傳感器監測環境的要素信息,建設的能夠自動探測多個要素,無需人工干預,即可自動生成報文,定時向中心站傳輸探測數據的氣象站。
由氣象傳感器、氣象數據采集儀、電源系統、防護箱和氣象觀測支架、通訊模塊等部分構成。能夠用于對風速、風向、雨量、空氣溫度、空氣濕度、光照強度、土壤溫度、土壤濕度、蒸發量、大氣壓力等氣象要素進行全天候現場監測。可根據客戶需求,添加相應需要監測的參數傳感器。可以通過專業配套的數據采集儀與軟件平臺進行連接,將數據傳輸到軟件平臺數據庫中,用于統計分析和處理,廣泛應用于工農業生產、旅游、科研、氣象等城市環境監測。
二、產品特點
1、低功耗采集器:靜態功耗小于50uA
2、標配GPRS聯網、支持擴展藍牙、有線傳輸
3、7寸安卓觸屏,版本:4.4.2、四核Cortex?-A7,512M/4G
4、支持modbus485傳感器擴展
5、太陽能充電管理MPPT自動功率點跟蹤
6、三米碳鋼支架,兩節法蘭盤對接
7、短信報警,超限后向指定的手機上發送短信
8、ABS材質防護箱,耐腐蝕、抗氧化,防水等級IP66
三、技術參數
1)采集器供電接口:GX-12-3P插頭,輸入電壓5V,帶RS232輸出Json數據格式,采集器供電:DC5V±0.5V峰值電流1A,
2)傳感器modbus、485接口:GX-12-4P插頭,輸出供電電壓12V/1A,設備配置接口:GX-12-4P插頭,輸入電壓5V
3)太陽能供電、配置鉛酸電池,可選配30W 20AH/50W 40AH/100W 100AH.充電控制器:150W,MPPT自動功率點跟蹤,效率提高20%
4)數據上傳間隔:1分鐘-1000分鐘可調
5)7寸安卓觸屏,屏幕尺寸:1024*600 RGB LCD
6)部分傳感器參數
名 稱 | 測量范圍 | 分 辨 率 | 準 確 度 |
環境溫度 | -40~+60℃ | 0.01℃ | ±0.3℃ |
相對濕度 | 0~100%RH | 0.1% | ±3% |
光照強度 | 0-200000Lux | 1Lux | ±2% |
大氣壓力 | 300-1100hpa | 0.1HPa | ±0.3hPa |
露點溫度 | -20~+50℃ | 0.1℃ | ±0.5℃ |
土壤溫度 | -50~+80℃ | 0.1℃ | ≤±0.2℃ |
土壤濕度 | 0~100% | 0.1% | ±2% |
土壤鹽分 | 0-20ms | ±0.1ms | ±2% |
土壤PH | 0-14 | 0.1 | ±0.2% |
風 向 | 0~360°(16方向) | 1/16 | <3°(>1.0m/s) |
風 速 | 0~70m/s | 0.01m/s | ±(0.1+0.03V)m/s |
雨 量 | ≦4mm/min | 0.01mm | ±0.2mm |
紫外輻射 | 0~70W/㎡ | 1W/㎡ | ±2% W/㎡ |
日照時數 | 0~24h | 0.1 h | ±2%h |
總輻射 | 0-2000W/m2 | 0.1W/m2 | 光譜范圍:300-3000nm |
光合有效輻射 | 400~700nm | 靈 敏 度:10~50μv/μmol·m-2·s-1 |
7)整機取得國家氣象計量站校準證書
8)生產企業具有ISO質量管理體系、環境管理體系和職業健康管理體系認證
10)生產企業為3A級信用企業
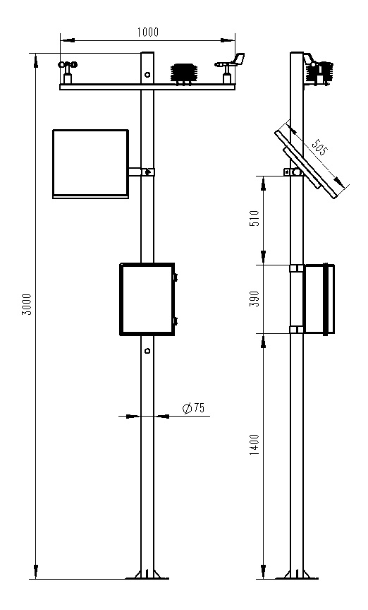
四、產品尺寸圖

五、產品結構圖

六、上位機軟件介紹
1、PC單機版數據接收、存儲、查看、分析軟件
2、支持串口數據接收、處理、展示
3、支持json字符串、modbus485等通信方式
4、可自設置存儲時間,modbus485采集模式下可自設置采集時間
5、支持自助增加、刪除、修改監測參數的協議、名稱、圖標等
6、支持數據后處理功能
7、支持外置運行javascript腳本
七、安卓APP介紹
1、安卓單機版數據接收、存儲、查看、分析軟件
2、支持藍牙數據接收
3、手機休眠后軟件后臺接收、處理
4、json數據自動添加設備,modbus設備支持掃碼添加設備
5、支持歷史數據查看、分析、導出表格,支持曲線展示、單數據點查看。
6、支持數據后處理功能
7、支持外置運行javascript腳本
八、云平臺介紹
1、CS架構軟件平臺,支持手機、PC瀏覽器直接觀測、無需額外安裝軟件。
2、支持多帳號、多設備登錄
3、支持實時數據展示與歷史數據展示儀表板
4、云服務器、云數據存儲,穩定可靠,易于擴展,負載均衡。
5、支持短信報警及閾值設置
6、支持地圖顯示、查看設備信息。
7、支持數據曲線分析
8、支持數據導出表格形式
9、支持數據轉發,HJ-212協議,TCP轉發,http協議等。
10、支持數據后處理功能
11、支持外置運行javascript腳本